Innovations | Moyeu et dérailleur Fox : libérez la suspension !
Par Léo Kervran -

Neutraliser l’effet de la chaîne sur le comportement de la suspension, c’est une des tendances de ces dernières années sur la conception de nos vélos. Canyon, HXR, Ochain… Grandes marques ou petits artisans, ils sont plusieurs à s’y être essayé, mais aucun de ces systèmes n’a rencontré un franc succès jusque-là. Cette fois, c’est Fox qui rentre dans la danse avec un nouveau brevet portant sur un moyeu et un dérailleur avec de l’électronique et une gestion intelligente de la tension de chaîne et de l’engagement de la roue libre…
Si vous suivez Vojo depuis plusieurs années cet article vous dit peut-être quelque chose et à raison : on vous avait déjà parlé de ce brevet en 2020, peu après qu’il soit rendu public. Presque 3 ans ont passé et au vu des dernières idées en matière de transmission (Supre Drive, Shimano, Sram…) on s’est dit qu’il n’était pas inutile de ramener celle-ci sur le devant de la scène pour garder en tête les différents projets.
Le brevet, qui porte le nom de « Ensemble de moyeu et dérailleur arrière améliorant la suspension », est déposé sous le nom de Fox mais c’est bien Race Face qui est ici concernée. La marque américaine spécialisée dans les composants, rachetée par Fox en 2014, compte en effet dans sa gamme un moyeu à la conception et la forme très proches de celui utilisé en tant qu’exemple dans les schémas de ce brevet.
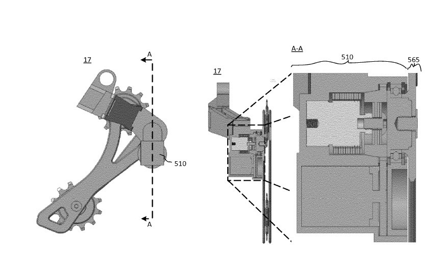
Le document se divise en deux parties, la première autour du dérailleur et la seconde autour du du moyeu. Concernant le dérailleur, Fox a imaginé un système similaire au Shadow+ de Shimano, c’est-à-dire un « embrayage » qui permet de limiter les mouvements de la chape, mais au lieu d’un levier à actionner manuellement, on retrouve ici des capteurs et un petit moteur. Les capteurs serviraient aussi pour le moyeu et pourraient détecter plusieurs paramètres : la vitesse de rotation de la roue, si le pilote pédale ou non, la pente sur laquelle le vélo se situe (distinction montée/plat/descente), l’état de la suspension…
A l’intérieur du dérailleur, la position du ressort (630) qui permet de tendre la chape serait gérée par un moteur (610) et un solénoïde (625) : si les capteurs détectent que la roue arrière prend des chocs alors que le vélo est en descente et que le pilote ne pédale pas, le système s’activerait pour découpler le ressort de la chape, libérant ainsi toute tension sur le brin inférieur de la chaîne.
Le problème dans ce cas, c’est le risque de déraillement avec une chaîne pas assez tendue pour rester en place, malgré le dessin des dents du plateau. L’idée de Fox, c’est donc d’avoir un système suffisamment réactif pour pouvoir libérer la chape lors de la compression, de façon à ce que la suspension puisse prendre du débattement sans contrainte, et ré-enclencher le ressort dès le début du rebond, avant que la chaîne ne se détende trop.
En parallèle, la roue libre se découplerait pour permettre à la chaîne de tourner en arrière, supprimant ainsi tout effet d’anti-squat et de kick-back (voir notre lexique). Pour ce faire, le moyeu comporterait de petits inducteurs (la référence 1015), des générateurs de champ magnétique, placés en face des cliquets pour contrôler ces derniers. Deux modes de fonctionnement sont envisagés : la roue libre est déconnectée par défaut et lorsque le pilote pédale, les inducteurs forcent les cliquets à s’engager dans la roue dentée, ou les cliquets sont engagés par défaut et lorsque le pilote arrête de pédaler, les inducteurs s’activent pour désengager les cliquets et libérer la roue libre. Le deuxième mode semble privilégié pour économiser de l’énergie mais Fox ne ferme aucune porte.
Des modules de transmission sans fil, type Bluetooth ou ANT+, permettraient aux différents éléments du système (capteurs, dérailleur, moyeu) de communiquer entre eux. Reste la question de l’énergie, on imagine mal ajouter une batterie rechargeable dans le moyeu ou à proximité, aussi bien pour des questions de poids que de complexité. Fox a pensé à une solution et pour le coup, il s’agit de quelque chose de très simple et bien connu : une dynamo ou un alternateur, logé dans le corps du moyeu au niveau du contrôleur du système (pièce 1010 sur les schémas ci-dessus), fournirait l’énergie nécessaire au fonctionnement des inducteurs grâce à la rotation du moyeu autour de l’axe.
L’idée n’a rien de nouvelle, mais on salue le travail réalisé autour de l’intégration et de la gestion de l’ensemble, particulièrement impressionnant. On est en revanche plus circonspect sur l’intérêt général d’un tel système, vis-à-vis du fonctionnement de nos vélos tels qu’ils sont conçus actuellement. Il existe bien sûr des différences entre chaque modèle mais aujourd’hui, les effets de la tension de chaîne sur la suspension sont plutôt bien compris et exploités de manière à donner du dynamisme, dans les appuis et/ou au pédalage selon le programme envisagé. Un vélo sur lequel tous les effets de chaînes sont neutralisés en descente, c’est comme un vélo sans chaîne : très confortable, mais qui s’affaisse dès que l’on pousse sur les jambes pour accélérer, jouer avec le terrain ou tout simplement sortir d’un virage. Si de tels composants venaient à être produits, c’est donc toute la suspension arrière qu’il faudrait repenser, ré-inventer, pour garder un vélo réactif et performant.
Le brevet complet : worldwide.espacenet.com/patent/search?q=pn%3DUS2020166089A1

