Innovations | Bientôt un e-bike chez Yeti ?
Par Léo Kervran -
Aujourd’hui, Yeti figure parmi les dernières marques à ne pas compter d’e-bike dans sa gamme. Toutefois, un brevet publié en août dernier et déniché par le compte Instagram @wheel_based il y a quelques mois laisse planer le doute quant à l’avenir de cette situation. Le document décrit en effet un tout nouveau système de suspension voué à remplacer le Switch Infinity et la marque envisage elle-même d’y combiner une assistance électrique…
Comme on le comprend à demi-mot dans la section « Contexte » du document, l’idée derrière cette architecture est de dissocier au mieux les principaux paramètres du comportement d’une suspension : anti-rise (réponse de la suspension au freinage), anti-squat (réponse de la suspension à l’accélération et aux impulsions du pilote) et ratio de suspension (avantage mécanique).
Yeti explique que sur une suspension classique de type 4 bar linkage (voir notre lexique des suspensions), ces éléments « dépendent considérablement les uns des autres [ce qui] rend difficile l’optimisation des trois et, par conséquent, ces conceptions compromettent la qualité de la conduite. » Avec le système décrit dans ce brevet, la marque veut donc pouvoir les contrôler indépendamment de manière à pouvoir optimiser le fonctionnement de la suspension.
Cependant, on saisit bien vite que ce nouveau système de suspension a un autre avantage de taille sur l’actuel Switch Infinity : il prend beaucoup moins de place dans le cadre. Dans le document, les inventeurs expliquent que cet encombrement réduit peut offrir « un avantage de performance permettant un virage plus rapide », puisque les bases peuvent être plus courtes, mais aussi une meilleure rigidité grâce au dégagement supplémentaire qui « laisse également de la place pour un « pont » plus grand reliant les côtés entraînement et non-entraînement du corps de bras oscillant ».
Cela amène également des avantages pratiques, puisque le « dégagement supplémentaire des pneus offre plus d’espace pour la saleté et la boue qui peuvent s’accumuler » tandis que « l’espace supplémentaire devant l’axe du pignon d’entraînement [le plateau] offre plus d’espace pour installer une bouteille d’eau et d’autres accessoires dans le cadre du corps suspendu 1 [le triangle avant]. »
Enfin, « l‘enveloppe plus petite de la conception de la liaison telle que divulguée ici peut avoir plusieurs avantages cinématiquement car il y a […] une plus grande capacité à régler des paramètres tels que l’anti-squat, l’anti-rise et l’effet de levier. »
Le principe
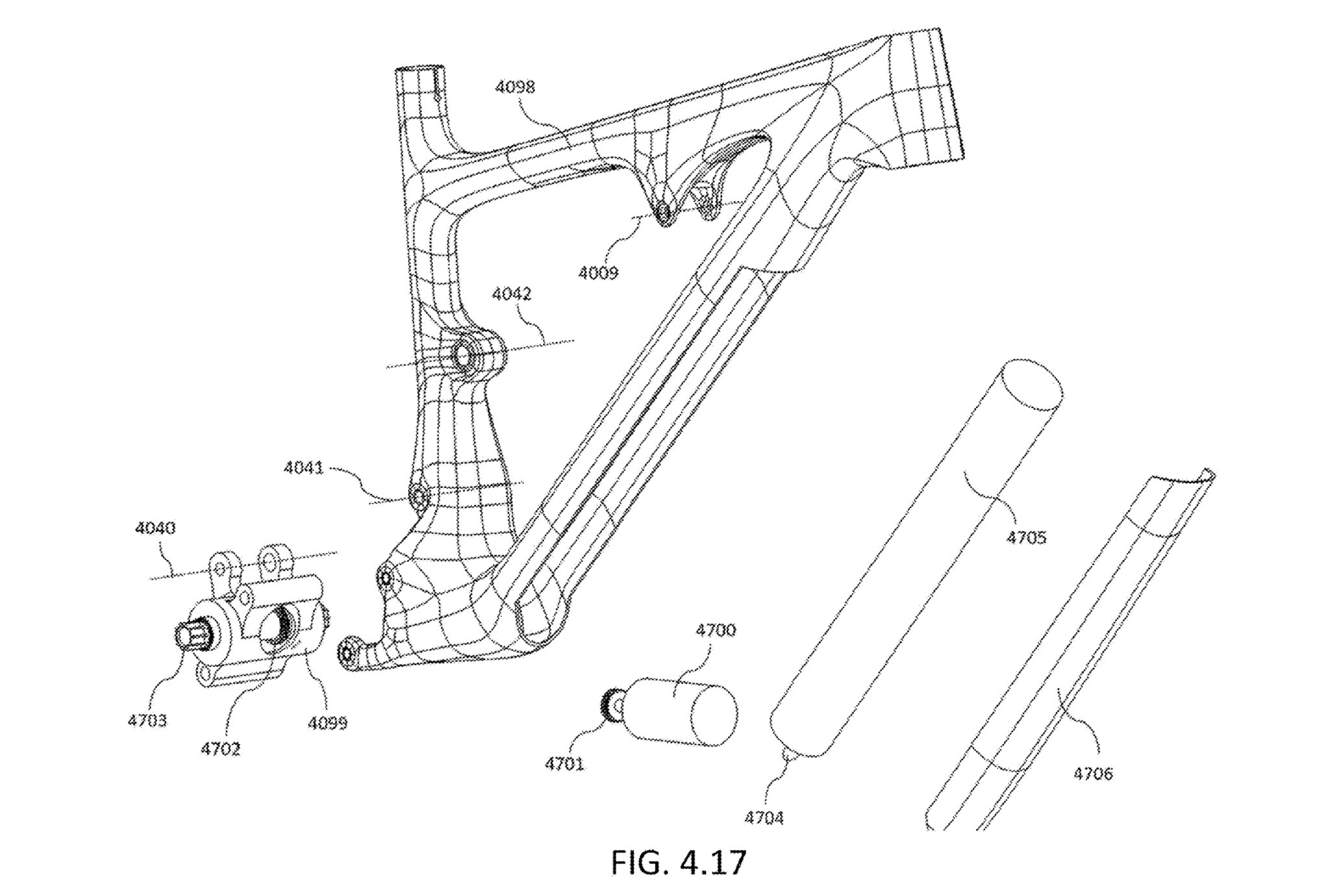
Le brevet propose un tout nouvel agencement au niveau de la liaison inférieure entre le triangle arrière et le triangle avant. Adieu les plongeurs du Switch Infinity ! Ici, Yeti travaille avec des pivots, voire des lames flexibles.
Désormais, le triangle arrière serait fixé par un pivot au centre d’une pièce en « S », reliée elle-même au triangle arrière (en bas) et avant (en haut) par deux lames capables de se déformer ou des liens fixes et des pivots pour accompagner le mouvement du triangle arrière comme le faisaient les plongeurs du Switch Infinity.
Les plus pointus techniquement remarqueront qu’au total, cela donne une suspension en 6 bar linkage, une conception qui semble se développer doucement ces dernières années (Specialized Enduro et Kenevo SL, Polygon Mt Bromo…).
Conséquence de ce design, le point de pivot inférieur de la suspension ne se déplace plus seulement en vertical comme avec le Switch Infinity, il bouge aussi horizontalement comme on le voit sur la figure 1.35 ci-dessus : suspension totalement détendue, le pivot se situe en position 45-E. Ensuite, il monte et part plus ou moins sur l’arrière jusqu’à atteindre le point 45-I, d’où il redescend et peut à nouveau se décaler légèrement pour s’arrêter en 45-C lorsque la suspension est complètement compressée.
Selon Yeti, ce trajet permet à la fois d’avoir un comportement optimal en début de débattement et autour du sag pour le pédalage, et optimal plus loin dans la course pour les plus gros impacts en descente. On notera par ailleurs que le déplacement vers l’avant et l’arrière peut être « personnalisé » en modifiant les points de fixations et la longueurs des lames flexibles.
Les inventeurs ont également imaginé un autre système, avec un 4 bar linkage type Chebyshev à la place de la pièce en S, pour arriver à un trajet similaire du point de pivot. Un peu plus complexe d’apparence, avec plus de pivots et de liens, il est toutefois aussi compact et permet de se passer de lames flexibles.
De la place pour un moteur ou une boîte de vitesse ?
Toutefois, ce brevet pourrait n’être qu’un n-ième brevet sur un système de suspension un peu original si Yeti n’avait pas glissé, à la toute fin du document, un passage sur la potentielle compatibilité d’un tel système avec une boîte de vitesse ou une assistance…
On note que l’ensemble est particulièrement bien intégré à la suspension, puisque la boîte de vitesse (qu’elle soit seule ou partie d’une assistance électrique) pourrait faire office de support pour la pièce en S, de manière à rendre son boîtier presque entièrement invisible une fois la transmission montée sur le vélo.
De notre point de vue, la piste d’un e-bike chez Yeti est hautement probable. On imagine en effet mal la marque de Golden, dans le Colorado, se passer d’un tel modèle dans sa gamme alors que le segment se développe de plus en plus aux Etats-Unis d’Amérique. Toutefois, ce n’est pas la seule application potentielle de ce système de suspension : plus petit et léger que le Switch Infinity, il pourrait également trouver son chemin sur des vélos de XC. Plus performant et plus « complet », il serait aussi tout à sa place sur des machines de trail et d’enduro. Le brevet aura bientôt un an, ce qui signifie que Yeti travaille sur le sujet depuis au moins 2 ans et probablement plus. De quoi espérer des nouveautés d’ici la fin de l’année ?
