Technique | Futures suspensions Bilstein VTT : on décortique les innovations et les brevets
Par Olivier Béart -
Voir des prototypes testés en coupe du monde VTT, ce n’est pas inhabituel. Mais en 2025, de discrètes suspensions ont fait leur apparition et pourraient annoncer une nouvelle importante : celle de l’arrivée du géant des suspensions Bilstein dans le monde du vélo. Vojo a déniché de précieux brevets et on clarifie tout cela avec notre spécialiste des suspensions et des animations Théo Charrier.
Lors de la dernière saison de coupe du monde, que ce soit en DH ou en enduro, l’équipe YT Racing Development a été aperçue à plusieurs reprises en train d’utiliser des suspensions inconnues au bataillon. Selon les rumeurs de paddocks, ces suspensions marqueraient l’entrée des Allemands de Bilstein dans le monde du VTT. À ce jour, nous n’avons eu aucune nouvelle. Qui plus est, YT ayant connu quelques difficultés, l’avenir de l’équipe n’était pas nécessairement une priorité.
Cependant, après quelques recherches, nous sommes tombés sur des brevets fraîchement publiés. En effet, le 26 février 2026, THYSSENKRUPP AG, dont Bilstein est une filiale, a déposé six brevets portant chacun sur une fourche ou un amortisseur destinés à être utilisés sur un vélo. On se propose alors de vous présenter de manière digeste, la nature de chacune de ces inventions. Et qui sait, cet article servira peut-être d’ouverture pour une arrivée future de Bilstein dans l’industrie du cycle.
DampMatic, vous avez dit DampMatic ?
Afin d’apprécier au mieux les inventions présentées par ces six brevets, il convient de s’intéresser à la technologie DampMatic. Pour rappel, l’amortisseur que notre boîtier avait capturé lors des Enduro World Cup portait cette appellation sur une molette de réglage.
Dans l’automobile, cette technologie, développée par Bilstein, permet de réduire automatiquement la force d’amortissement appliquée lorsque les mouvements de la suspension sont lents et de faible amplitude. À l’inverse, lorsque ces mouvements sont plus grands et plus rapides, la force d’amortissement est automatiquement plus importante. Cette technologie est utilisée sur certains véhicules Mercedes-Benz et permet d’accroître le confort tout assurant la stabilité du véhicule.
Pour permettre ce passage automatique d’un réglage à l’autre, les suspensions disposent, comme illustré, d’un piston flottant séparant deux chambres d’huiles. Sur des mouvements de faible amplitude, l’huile passe au travers d’un premier piston et pousse ensuite un second piston qui se veut être flottant. À son tour, le piston pousse l’huile présente sur son autre face vers l’extérieur de la tige. Ainsi, en empruntant ce chemin, l’huile n’est pas forcée de déformer les clapets présents sur le piston principal.
Néanmoins, si le mouvement prend de l’ampleur, le piston flottant arrive alors en fin de course et empêche l’huile d’emprunter ce chemin alternatif. De cette manière, l’huile n’a d’autre choix que de passer par le piston principal. Cela a alors pour effet de changer la force d’amortissement appliquée.
Habituellement, la force d’amortissement est fonction de la vitesse de compression ou de détente de la suspension. Avec cette technologie, l’amortissement devient en quelque sorte fonction du déplacement, en tout cas pour ce qui est du début de la course.
On notera que cette technologie nécessite d’avoir un diamètre de tige important. Si cela ne pose pas de problème sur une suspension automobile, sur une fourche ou un amortisseur, cela devient difficile. Néanmoins, à en croire l’office européen des brevets, il semblerait que Bilstein ait trouvé différentes solutions.
Un amortisseur à la façon DampMatic ?
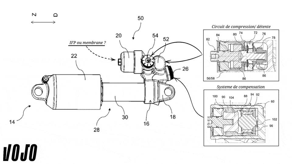
L’amortisseur que nous avions photographié avait une forme assez inhabituelle. Fonctionnant sur un ressort pneumatique, le piggyback présentait trois molettes et un cylindre, probablement pour accueillir un IFP ou une membrane. Il ne paraissait pas y avoir de molette de réglage au niveau de la fixation de l’amortisseur. Cela suppose alors que l’ensemble des réglages sont présents sur le piggyback et que la tige soutenant le piston principal est pleine. On pourrait même aller jusqu’à supposer que l’amortisseur admet une architecture de type twin tube comme l’on retrouve sur le Vorsprung Telum, chez Öhlins, Cane Creek ou encore chez Fox bien que cela dépende des millésimes.
Les brevets DE 10 2024 124 213 A1 et DE 10 2024 124 215 A1 présentent un amortisseur qui s’appuie bel et bien sur une architecture de type twin tube, ou du moins ce qu’on appelle twin tube dans le monde du vélo. On notera par ailleurs que le piston 40 parait plein comme sur le Telum de Vorsprung. Entendez par là que l’huile ne peut pas passer au travers. On aurait donc affaire à un véritable twin tube et non un format dit “hybride” comme l’on retrouve chez Öhlins par exemple.
Concrètement, le piston principal, lors de la compression de l’amortisseur, envoie l’huile contenue dans le tube intérieur vers le piggyback. Une fois dans la tête, l’huile entre dans un “système de compensation”. Illustré ci-dessous, ce “système de compensation” constitue une première nouveauté.
Si le mouvement est de faible amplitude, l’huile envoyée par le piston principal peut alors pousser un piston flottant 92 contenu dans la tête de l’amortisseur. Ledit piston pousse ensuite de l’huile qui se retrouve alors entre le tube intérieur 32 et le tube extérieur 30 et finit par arriver derrière le piston principal 40 comme dans tout amortisseur twintube.
De cette manière, comme l’huile n’est pas contrainte de passer dans différents clapets et orifices, la force d’amortissement est “faible voire nulle” comme le précise le brevet. Néanmoins, lorsque l’amplitude augmente, le volume d’huile déplacé par le piston 40 permet de mettre le piston flottant 92 en butée. Ainsi, l’huile s’accumule et est dorénavant obligée de se diriger vers les assemblages de pistons et clapets 52 et 54.
Une fois le circuit de compression franchi, l’huile se faufile jusqu’au réservoir 20 qui semble contenir un IFP traditionnel à en croire la mention de “Gastank”. Enfin, l’huile peut retourner derrière le piston principal en passant entre les deux tubes 30 et 32.
Ainsi ce piston flottant 92 permet, selon le brevet, d’ajuster automatiquement la force d’amortissement en fonction de l’amplitude du mouvement de la suspension.
Avant de passer à l’invention suivante, il convient de se demander à quoi servait la molette sur l’amortisseur que nous avions aperçue. A ce stade, et à en croire l’illustration, on pourrait spéculer qu’elle permettrait d’ajuster la course du piston flottant 92. Cela aurait pour effet d’accroître ou de minimiser son action.
Mais où sont passés les pointeaux ?
Comme nous l’avions présenté dans l’article “mtb anatomy : l’amortisseur second volet”, traditionnellement, bien que chaque fabricant fasse un peu ce qu’il veut, les basses vitesses sont ajustées via une molette qui permet de faire varier la position d’un pointeau. Pour ce qui est des hautes vitesses, on retrouve diverses alternatives. On peut par exemple utiliser un ressort plus ou moins précontraint qui vient appuyer sur les clapets.
Dans un second brevet (DE 10 2024 124 213) concernant l’amortisseur, nous avons pu découvrir, non pas une forme de pointeau novatrice, mais bien un agencement de piston et de clapets assez peu commun.
Sur l’illustration ci-dessus, on note aisément la présence d’un piston 72 qui présente deux rangées de canaux. Les canaux 64 plutôt placés vers l’extérieur et les canaux 66 placés vers l’intérieur. On remarque également que des clapets sont montés de chaque côté du piston (76 et 74). Question piège, comment l’huile fait-elle pour passer d’un côté à l’autre du piston ? On pourrait imaginer un perçage dans la fixation 84, ce qui serait l’occasion d’y placer un pointeau. Mais cela serait déjà connu du grand public et ne pourrait de ce fait pas faire l’objet d’un brevet.
La solution ? Il suffit de percer de petits trous ou fentes dans les clapets 76. De cette manière, le débit d’huile est freiné une première fois, ce qui constitue une manière de générer une force d’amortissement. Ainsi, une fois que l’huile est passée au travers des clapets 76, elle peut passer par les canaux intérieurs et venir déformer les clapets 74.
Dans le sens inverse, l’huile passe directement dans les canaux extérieurs et vient soulever les clapets 76 en comprimant le ressort 78. Dans ce sens, le fonctionnement pourrait être assimilé à une “check valve”, entendez par là que l’huile peut passer sans qu’il n’y ait de grande résistance. Le brevet précise également que la précontrainte du ressort 80 peut être ajustée grâce à un réglage de molette. Cela pourrait alors s’apparenter à un réglage de haute vitesse.
Place à la fourche !
Si l’amortisseur fait l’objet de deux brevets, la fourche quant à elle est présentée dans pas moins de quatre brevets.
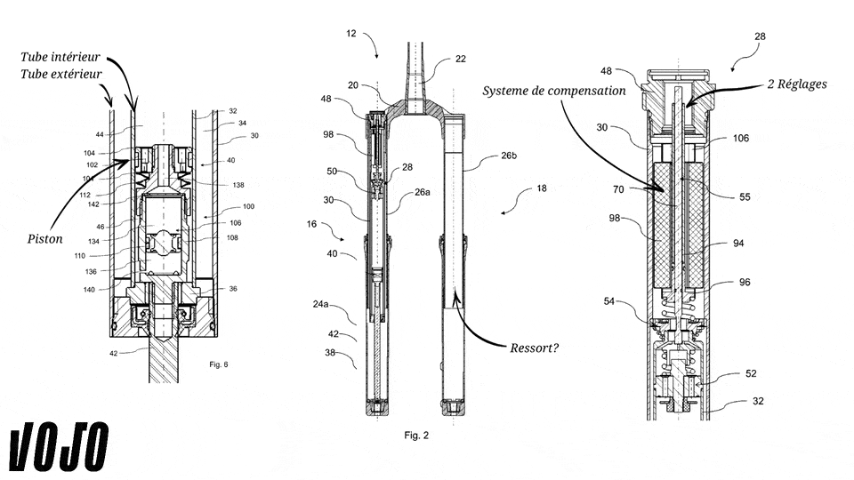
Contrairement à l’amortisseur, la fourche photographiée n’avait rien d’extravagant, à un détail près. Les molettes de réglages de compression et de détente se trouvaient toutes les deux sur le T de fourche. Cela pourrait paraître anodin, mais en réalité ça indique que la partie hydraulique ne fonctionne pas comme sur une cartouche “traditionnelle”. Et les brevets que nous avons consultés ne font que confirmer cette impression.
La première chose que l’on peut remarquer est que la cartouche utilise aussi une architecture “twin tube”. Si cela est relativement répandu pour les amortisseurs, sur une fourche, c’est suffisamment rare pour être souligné. Ainsi, l’huile présente dans le tube intérieur est envoyée vers le haut de la cartouche où sont placés les différents circuits de compression et de détente. Ensuite, ladite huile redescend dans le tube extérieur, autour du tube intérieur, puis retourne dans le tube intérieur pour finalement se retrouver derrière le piston principal.
On notera également que le système de compensation, qui par ailleurs fait l’objet d’un brevet (DE 10 2024 124 216), n’est pas un IFP, ni une mousse. C’est d’une certaine manière une membrane.
Cependant, les membranes que l’on connaît ont bien souvent une seule épaisseur et sont disposées autour du corps de la cartouche. Lorsque la fourche est comprimée, la membrane est étirée, elle gonfle par l’intérieur à cause de l’huile qui s’y accumule.
Ici, on a affaire à une membrane plus complexe. Elle forme une poche renfermant un gaz. On note aussi qu’elle se positionne autour d’une tige. À l’inverse d’un système à expansion, la pression hydraulique agit ici sur les parois extérieures de la membrane, comprimant le volume de gaz pour absorber le volume de tige entrant dans la cartouche.
Maintenant que l’on a vu l’organisation générale de la cartouche, voyons comment les ingénieurs sont parvenus à placer les réglages de détente et de compression au même endroit.
Comme illustré ci-dessus, en fonction des mouvements de la fourche, que l’on soit en détente ou en compression, l’huile envoyée par le piston principal ne parcourt pas le même chemin. On pourrait même préciser que l’huile ne va pas déformer les mêmes clapets. Qui plus est, les clapets qui gèrent la compression ou la détente, sont chacun précontraints par un ressort différent.
De ce fait, les réglages externes viennent jouer sur la précontrainte de ces ressorts. Pour la compression, la rotation de la molette entraîne un déplacement vertical de la tige 70 qui vient appuyer plus ou moins sur le ressort 66 par le biais de la pièce 72. Pour la détente, même principe, la rotation de la molette entraîne le tube 94, qui est par ailleurs disposé autour de la tige 70. Le déplacement du tube 94 permet alors de précontraindre le ressort 90 par le biais de la pièce support 96.
Toujours aucun signe de la technologie DampMatic?
On a parlé de l’architecture générale de la cartouche, du système de compensation et du fonctionnement des réglages de compression et de détente, mais nous ne nous sommes pas attardés sur le piston principal. Pour ce faire, il faut se pencher sur le brevet DE 10 2024 124 214.
À première vue ce piston n’a rien de très commun, il renferme même un second piston flottant. Cela rappelle le système de compensation étudié précédemment dans l’amortisseur. Bien que l’assemblage soit un peu différent, l’objectif reste le même : faire varier de manière automatique la force d’amortissement en fonction de l’amplitude des mouvements de la fourche.
Lors de faibles amplitudes, l’huile peut emprunter le canal au centre du piston principal et pousser le fameux piston flottant. Ce dernier pousse ainsi l’huile contenue dans le compartiment. Ladite huile arrive ainsi derrière le piston. De cette manière, la force d’amortissement qui en résulte est très faible voire inexistante.
Néanmoins, pour une amplitude plus importante, le piston flottant arrive en butée. L’huile n’a donc d’autre choix que de se diriger vers les circuits de compression situés en haut de la cartouche comme nous avons pu le voir auparavant. On notera par ailleurs que ce fonctionnement se répète dans le sens inverse lors de la phase de détente.
Le brevet précise également que le piston principal peut être pourvu de clapets. De ce fait, si la pression et/ou la vitesse de déplacement du fluide atteignent une limite seuil, alors les clapets sont déformés et permettent à l’huile de passer au travers du piston.
Que faut-il retenir ?
Un brevet permet de manière générale de protéger une invention qui soit nouvelle, novatrice et industrialisable. Toutefois, il ne garantit pas que le déposant en fasse usage à l’avenir. De ce fait, on devine que Bilstein ne cesse de développer une gamme de suspensions dédiée au VTT. Difficile néanmoins de savoir quand et comment ils feront leur apparition sur le marché (OEM/AM).
Qui plus est, les brevets étudiés par souci d’illustration, présentent un vélo dans son ensemble qui semble correspondre aux vélos de la marque YT. Venant tous deux d’Allemagne, on peut légitimement se demander si YT ne pourrait pas constituer pour Bilstein une porte d’entrée vers un nouveau marché. De la même manière que ce qu’avait pu faire Öhlins avec Specialized.


