Innovations | De l’intelligence artificielle chez Shimano

Par Léo Kervran -

  • Tech

Innovations | De l’intelligence artificielle chez Shimano

Pilotez, votre vélo s’occupe de tout ! C’est en substance le message que véhicule un brevet accordé récemment à Shimano pour une intelligence artificielle intégrée au vélo… Sous couvert d’optimiser l’autonomie de la batterie sur un VTT AE, la marque japonaise a développé sur le papier un système qui pourrait contrôler (presque) toutes les composants clés de nos montures. Explication(s) :

L’IA, kézako ?

Avant de rentrer dans les détails du document, un point lexical s’impose. Après tout, nous n’avons pas vraiment l’habitude de parler d’intelligence artificielle et d’apprentissage automatique (ou machine learning en anglais) dans le vélo…

D’après Wikipedia, « l’apprentissage automatique est un champ d’étude de l’intelligence artificielle qui se fonde sur des approches mathématiques et statistiques pour donner aux ordinateurs la capacité d’« apprendre » à partir de données, c’est-à-dire d’améliorer leurs performances à résoudre des tâches sans être explicitement programmés pour chacune ». Ainsi, un robot peut par exemple apprendre à marcher sans qu’on lui ait au préalable indiqué comment faire. Il suffit qu’il sache bouger ses membres pour qu’il « découvre » par lui-même les mouvements et la coordination à mettre en place pour avancer.

Le terme d’intelligence artificielle renvoie quant à lui à « l’ensemble des théories et des techniques mises en œuvre en vue de réaliser des machines capables de simuler l’intelligence humaine » (Larousse).

Jusque là, c’est plutôt clair ! On distingue par ailleurs plusieurs formes d’apprentissage automatique : supervisé, semi-supervisé, non supervisé, par renforcement ou encore par transfert. Inutile de trop rentrer dans les détails pour cette fois, on retiendra que ces différentes modalités caractérisent le niveau d’intervention humaine et/ou la façon dont le système apprend.

Et le vélo dans tout ça ?

On retrouve ces systèmes dans des domaines de plus en plus variés, mais à notre connaissance, personne ne les avait encore appliqués sur un vélo. Dans les « gros poissons » du secteur, Shimano était peut-être déjà la marque qui s’en approchait le plus avec son projet « d’écosystème » de composants sans fils (dérailleurs, tige de selle, suspensions) qui communique tous entre eux.

De composants qui communiquent à composants qui apprennent, sur le papier il n’y a qu’un pas…  Reste à savoir pourquoi Shimano voudrait intégrer un tel système sur un vélo. Les applications potentielles sont nombreuses, mais le temps de ce brevet (une nouvelle fois repéré par @wheel_based) au moins, le fabricant japonais s’est tourné vers le VTT AE. L’objectif est en effet« de contrôler correctement un composant en fonction d’un état de déplacement avec une consommation d’énergie électrique réduite en utilisant un modèle d’apprentissage automatique ». Autrement dit, d’améliorer l’autonomie de la batterie en optimisant le comportement de l’assistance.

L’intérêt de ce système vis-à-vis d’un mode « automatique » comme on en trouve chez Bosch (avec le e-MTB) ou Yamaha/Giant, c’est sa personnalisation. Ici, l’assistance vous correspondrait parfaitement en permanence, ni trop forte ni trop faible.

Comment ça fonctionne ?

Comme on peut le constater, certains de ces éléments communiquent avec le cœur du système par des doubles flèches, tandis que les flèches ne vont que dans un sens pour les capteurs. Gardez cela en tête, on reviendra dessus plus loin.

L’assistance n’est pas ajustée au hasard, sans prise en compte des sensations de l’utilisateur.

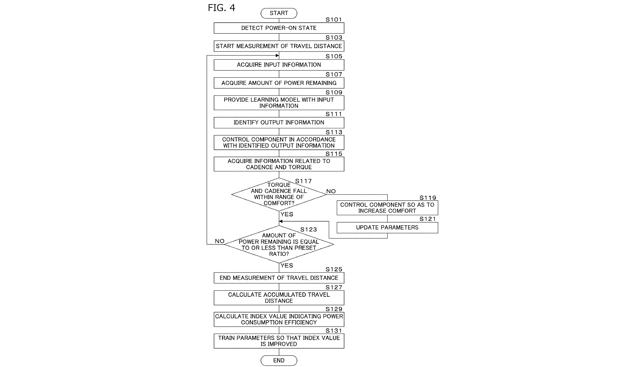
Pour le moment, on s’intéresse à ce qui concerne directement le pédalage, le seul point développé en détails dans ce brevet. Pour cela, l’unité d’acquisition récupère les informations de déplacement (vitesse, accélération, angle du vélo), de pédalage (couple et fréquence) et le niveau de batterie restant.

Ces informations sont communiquées au processeur, qui va les comparer à une valeur d’index indiquant la consommation d’énergie électrique (un rapport distance parcourue / autonomie restante par exemple) et ajuster si besoin l’assistance délivrée par le moteur. Toutefois, l’assistance n’est pas ajustée au hasard, sans prise en compte des sensations de l’utilisateur sinon un mode Eco très faible suffirait. L’objectif ici, c’est d’optimiser l’autonomie tout en maintenant l’utilisateur dans sa zone de confort.

Comme on le voit sur le schéma ci-dessus, on peut facilement dessiner une « carte » de la zone de confort d’un pratiquant suivant deux paramètres. Shimano entraînerait l’IA avec des données (ces « cartes ») issues d’autres vélos ou d’une simulation avant même la première utilisation du vélo. Ainsi, lorsque le système ajustera le niveau d’assistance, il cherchera à rester dans cette zone de pédalage qu’on lui a indiqué comme étant agréable pour l’utilisateur. On appelle ça de l’apprentissage supervisé.

Cependant, ce n’est pas tout. Shimano utilise également pour cette IA de l’apprentissage par renforcement, c’est-à-dire que l’utilisateur peut indiquer au système si ce qu’il fait (= le niveau d’assistance) lui convient ou non. Cette information permet d’affiner la définition de la « carte de confort » et de continuer l’entraînement de l’IA, qui progresse donc un peu plus à chaque sortie avec les retours de l’utilisateur.

On remarque d’ailleurs que Shimano a été plutôt créatif pour imaginer la façon dont les utilisateurs pourraient faire ces retours. Au-delà des classiques boutons (ici symbolisés par un J’aime / Je n’aime pas), la marque japonaise envisage aussi une commande vocale ou… une reconnaissance faciale ! Avec une petite caméra, le système pourrait analyser le visage de l’utilisateur et déterminer s’il se situe ou non dans sa zone de confort.

A la fin de la journée ou lorsque la batterie est vide, l’IA compare les données de la sortie avec celles stockées en mémoire et « s’améliore », en modifiant par exemple l’importance des différentes informations envoyées par les capteurs dans ses calculs, de façon à être plus performante à l’avenir. Sur le schéma ci-dessus, chaque petit cercle symbolise un « neurone » où des calculs sont effectués.

Bien sûr, ce fonctionnement intelligent ne serait pas le seul disponible. Shimano parle d’un mode automatique, il serait donc possible de repasser en mode manuel et de changer soi-même les niveaux d’assistance. Toutefois, si cette IA devait vraiment voir le jour et se montrer performante, pas sûr que ses utilisateurs voudront revenir en arrière…

Par ailleurs, Shimano évoque un « mode de réalisation » (le terme consacré) où toute la partie algorithme ne serait pas intégrée au vélo mais pourrait être chargée sur un support mobile, comme un compteur GPS ou un smartphone (« communication device » sur le schéma ci-dessus). On pourrait ainsi emmener son profil partout avec soi, y compris lorsqu’on change de vélo.

On l’a dit plus haut, ce document se concentre sur l’assistance électrique, mais Shimano semble voir plus large et ne se ferme aucune porte. Comme on peut le constater sur les figure 2 et 6, on a une double flèche pour l’assistance mais aussi pour les freins, les suspensions et la tige de selle. Une double flèche, cela signifie une communication dans les deux sens, c’est-à-dire que ces éléments peuvent envoyer des informations à l’unité centrale mais aussi en recevoir. D’ailleurs, à la fin du brevet c’est encore plus clair puisqu’on lit que « le modèle d’apprentissage automatique peut être configuré pour sortir des informations liées à la commande d’un autre composant ».

On sait que Shimano travaille sur une tige de selle motorisée sans fil, et elle est d’ailleurs à nouveau évoquée ici, mais le brevet parle aussi de modifier la puissance des freins, voire d’actionner les freins avec un petit moteur. Modifier l’état des suspensions c’est une chose, le rapport utilisé cela peut encore s’accepter, mais intervenir sur le freinage ? On touche à quelque chose de bien plus sensible et surtout de très variable, aussi bien suivant les individus que les terrains…

Si le brevet apparaît « fou » au premier regard, ce n’est que la suite logique quand on prend un peu de recul. Voilà un moment que l’électronique est dans le vélo et même les premières tentatives de systèmes « intelligents », comme le Lapierre e:i Shock ou le Fox LiveValve sur les suspensions, commencent à avoir quelques années. La personnalisation de l’électronique, c’était l’étape suivante et l’apprentissage automatique est tout indiqué pour ça. Attention, cette technologie ne sortira certainement pas en 2021, ni même en 2022. Il reste encore du travail pour fiabiliser tout ça et surtout, l’écosystème de composants sans fil Shimano si attendu n’existe toujours pas. Ce n’est donc pas pour tout de suite. Le jour où Shimano renouvellera l’EP8, en revanche…

De manière plus générale, ce brevet est intéressant dans la mesure où il montre, pour celles et ceux qui en doutaient encore, que l’électronique et le sans fil risquent bien de prendre toujours plus de place sur nos vélos dans les années à venir. Aujourd’hui, de plus en plus de dépôts de brevets autour du vélo concernent des composants électroniques et cela n’implique plus seulement des éléments pour lesquels l’évolution paraît logique comme les transmissions, les tiges de selle ou la gestion des suspensions (et pour lesquels des brevets ont été déposés il y a déjà plusieurs dizaines d’années). Désormais, on voit apparaître des idées, des projets qui exploitent au maximum les avancées en terme de miniaturisation, de gain de poids, de fiabilité et de rapidité pour proposer de nouvelles fonctionnalités pour nos vélos, des fonctionnalités toujours plus intégrées et « intelligentes ». Bonne chose ou non, chacun aura son avis sur la question, mais nos machines n’ont pas fini d’évoluer !

Le brevet complet

Par Léo Kervran